
据上海证券交易所官网显示,12月10日,国仪量子技术(合肥)股份有限公司(下文简称“国仪量子”)递交科创板IPO申请获受理。
本次国仪量子IPO拟募集资金11.69亿元,保荐机构为华泰联合证券。
国仪量子是中国传感器产业少数的独角兽企业,随着国仪量子冲刺科创板,有望成为国产量子传感器第一股。
传感器专家网:
https://www.sensorexpert.com.cn/?channel=toutiao
专注于传感器技术领域,致力于对全球前沿市场动态、技术趋势与产品选型进行专业垂直的服务,是国内领先的传感器产品查询与媒体信息服务平台。基于传感器产品与技术,对广大电子制造从业者与传感器制造者提供精准的匹配与对接
国仪量子科创板IPO招股说明书可在【传感器专家网】公众号对话框回复关键词【资料下载】,于下载页面获取(因网站刷新原因,资源可能更新不及时,可稍晚些再获取)。

中国科学技术大学成果转化,多项成果国内唯一、中国第一、世界领先,突破技术卡脖子!
国仪量子成立于2016年12月,其核心技术是以量子精密测量为代表的先进测量技术,为全球范围内企业、政府、研究机构提供以增强型量子传感器为代表的核心关键器件、用于分析测试的科学仪器装备、赋能行业应用的核心技术解决方案等优质的产品和服务。
国仪量子是我国在量子传感等高科技领域的代表性企业,其技术源自中国科学技术大学中科院微观磁共振重点实验室的知识成果转化。
国仪量子承接了将脉冲式自旋磁共振谱仪进行产业化的使命,并以自旋共振技术作为公司 演进与研发的起点。目前,经过自主创新和发展,国仪量子拥有量子传感与自旋共振产业化开发、电子顺 磁共振探头、量子传感器设计加工、自旋调控微波等大量核心技术,并形成量子信息技术与自旋共振系列(含自旋共振系列、量子传感系列、量子计算系列 、微弱信号测量系列 )、电子显微镜系列 、随钻测量系列、气体吸附分析系列、物联网及其他系列等5大系列产品线。
自旋共振:国内唯一电子顺磁共振波谱仪厂商,市场份额全球第2
自旋共振领域,长期以来,电子顺磁共振行业被国外巨头所垄断,主要的供应商为布鲁克、日本电子、Linev Systems等公司。
国仪量子是目前国内唯一具有电子顺磁共振波谱仪自主研发与生产能力的企业,亦是全球继布鲁克之后第二个具备 W 波段脉冲顺磁共振波谱仪产品研发与生产能力的厂商。
目前,国仪量子拥有覆盖 X 波段 和W波段的连续波谱仪和脉冲式波谱仪产品。
据招股书披露,2024年,国仪量子的电子顺磁共振波谱仪产品在全球市场份额达25%,为全球第2,超过日本电子、Linev Systems等公司,仅次于布鲁克。
量子传感:国内唯一实现全系列基于NV色心技术路径的量子传感产品研发,多项传感产品国内唯一
量子传感领域,据美国官方报告显示,量子精密测量技术主要包括原子钟、 原子干涉仪、光学磁力器、利用量子光学效应的装置以及原子电场传感器等五个 方向。
国仪量子的量子传感器产品主要为光学磁力器,并涉及原子钟以及原子电场传感器领域。
国仪量子多款产品依托于光学磁力器路线中的NV 色心技术,基于金刚石中氮-空位(NV)中心的电子自旋态对磁场的高度敏感性, 利用光学和微波技术对其自旋态进行初始化、操控和读出,实现高精度的测量。
招股书披露,全球量子精密测量市场规模预计从2024年的16.7亿美元(约合人民币 118.6 亿元)增长到2035年的45.0亿美元(约合人民币319.5亿元),呈现不断 上升趋势,年复合增长率为9.43%。
中国企业在量子精密测量领域提升较快,在全球的市场份额将由2024年的17%增长至24%。

国仪量子是国内唯一实现全系列基于NV色心技术路径的量子传感产品研发的企业,其量子钻石单自旋谱仪产品系国际首台,顺利通过科技部国家重点研发计划重大科学仪器设备开发重点专项2018年度项目验收,并曾入选2020年安徽省首台(套)重大技术装备名单,产品市场份额位居国内第一。
国仪量子推出的扫描NV探针显微镜系我国首个量子钻石原子力显 微镜产业落地产品,也是我国目前唯一实现商业化交付的扫描NV探针显微镜。
目前,国际上仅有国仪量子与瑞士 Qnami、QZabre 等少数公司具有扫描NV探针显微镜的商业化生产和交付能力。
在宽场NV显微镜产品,国仪量子是国际上除QDM.IO等公司之外少数具有该产品商业化生产能力并实现交付的公司。
量子计算:中国首台、全球首款,打破国际技术垄断
目前,国仪量子的量子计算系列产品包括离子阱量子计算机ION I以及金刚 石量子计算教学机。
国仪量子的离子阱量子计算机ION I是中国首台实现商业化交付的离子阱量子计算平台,打破了国际企业的垄断,并顺利实现了由原型机至产业化的跨越。
国仪量子的金刚石量子计算教学机事全球首款面向大众的NV色心路线的量子计算教学机,开创了使用实体量子计算机开展教学的先河。
招股书披露,2024 年全球量子计算产业的规模达50.4亿美元(约合人民币357.8亿元),2024年到2035年复合增 长率预计将达到 58.65%。

电子显微镜:国内极少数的扫描电镜研发企业,市场份额国内第一
在电子显微镜领域,国仪量子是国内目前少数具有扫描电镜、双束电镜自主研 发及生产能力的企业。
国仪量子的扫描电镜产品涵盖钨灯丝扫描电镜、场发射扫描 电镜,依据产品特性划分包括入门级产品、高性能产品与高通量扫描电镜等,产品种类齐全,是国内为数不多具有扫描电镜研发与生产能力的企业,产品市场份额位居国内品牌第一。
双束电镜方面,国仪量子是国内少数具有研发所需技术的企业, 并顺利实现商业化交付,产品市场份额位居国内品牌第一。
招股书披露,2024年全球电子显微镜整体市场规模约 39 亿美元(约合人民币277亿元),预计2028年将增长至54亿美元(约合人 民币383亿元),2023-2028年复合增长率达8.1%。其中,2024年中国电子显微 镜整体市场规模约人民币61.49亿元。
全球电子显微镜市场基本由赛默飞、日本电子、日立高新、蔡司、TESCAN等 几大巨头占据。


估值超70亿元的量子传感独角兽,年复合增长率超80%!募集资金将加速产业化!
国仪量子是少有的中国传感器产业独角兽企业,据今年7月份,长城战略咨询发布的最新一期《GEI中国独角兽企业研究报告》显示,国仪量子估值10亿美元(约合70.59亿元人民币),入选2024中国独角兽企业名单。相关信息查看:总估值1414亿元,最新中国传感器独角兽名单出炉,有3家退出!(附全名单)

主要财务数据方面,报告期内(2022-2024年及2025年1-6月),国仪量子实现营业收入分别为1.51亿元、4亿元、5.01亿元及1.71亿元,扣非归母净利润分别为-1.68亿元、-1.69亿元、-1.04亿元及-7394.16万元,尚未实现盈利。截至 2025 年 6 月 30 日,公司合并报表未分配利润为-4.27亿元,存在未弥补亏损。
招股书中,披露公司未实现盈利的主要原因为:
公司尚处于新技术产业化的落地兑现期以及产品线扩容及销售放量、实现规模效应的初期,作为被外资品牌垄断市场中的后起之秀,报告期内持续以高性价比产品和优异的服务打造民族品牌影响力并在细分市场战略卡位,导致研发和销售投入规模较大。

虽然未实现盈利,但国仪量子在报告期内,业绩增长迅猛,主营业务近三年收入复合增长率超过80%。
量子信息技术与自旋共振系列、电子显 微镜系列、随钻测量系列、气体吸附分析系列、物联网及其他系列为国仪量子的主营业务,营收分别为1.47亿元、3.9亿元、4.84亿元和1.7亿元,逐年快速增长,近三年收入复合增长率超过80%。
其中,量子信息技术与自旋共振系列、电子显微镜系列和气体吸附分析系列产品销售收入合计占主营业务收入的比重分别为81.76%、73.54%、88.33%和87.58%,是收入的主要构成内容。

上文提到,国仪量子尚未实现盈利的一个关键原因之一,是前期研发的大量投入。
招股书披露,报告期内,公司研发费用分别为1.14亿元、1.31亿元、1.16亿元和5079.978万元,占营业收入的比重分别为75.34%、32.72%、23.13%和29.78%。报告期内研发投入共计4.12亿元,占营业收入总额的33.66%。
截至2025年6月末,国仪量子拥有研发人员192人,其中博士及硕士学 历人员占比超过45%,截至本招股说明书签署日,公司共获授权境内专 利453项、境外专利3项,其中发明专利达165项。

主要客户方面,目前国仪量子的客户可分为高校及科研院所、企业客户两大类,其中,高校及科研院所使用公司设备开展科学研究等科技前沿探索活动,企业客户主要应用于工业质 检和工业应用方面的研发活动。
自成立以来,国仪量子公司产品已交付超过80所985/211 高校、超过150家科研院所,以及化学与材料、半导体、生物医药、能源勘探、 先进制造等领域的知名企业:
代表性高校及科研院所包括清华大学、北京大学、中国科学技术大学、 浙江大学、上海交通大学、复旦大学、同济大学、中山大学、南京大学、哈尔滨 工业大学、西安交通大学、康奈尔大学、牛津大学、哥伦比亚大学、新加坡国立 大学、南洋理工大学、墨尔本大学、滑铁卢大学、首尔大学、中国科学院、中国工程物理研究院、中国原子能科学研究院、中国计量科学研究院、中国农业科学 院等。
代表性企业客户包括京东方、比亚迪、宁德时代、奇瑞汽车、隆基绿能、 成飞集团、南方航空、中船集团、中核集团、中电科、中石油、中海油等行业龙 头。

报告期内,国仪量子来自于前五大客户收入合计占主营业务收入的比重分别为 26.62%、24.62%、17.02%和 13.41%,占比较低,且随着营收规模迅速增长呈降低趋势。
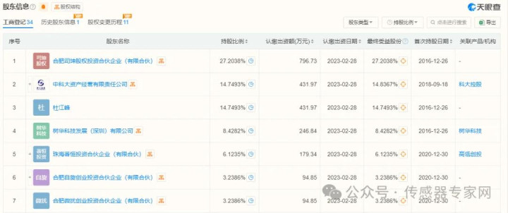
在2022-2024年度,中国科学院均为国仪量子的前5大客户之一,中国科学院的中国科学技术大学旗下的科大控股持有国仪量子14.75%股份。



国仪量子主要采购原材料包括结构件、探测器与传感器、电子元器件、电子设备与电 气类等,主要供应商包括安徽省新安国际贸易有限公司、嘉兴科迈超导科技有限 公司、埃地沃兹贸易(上海)有限公司等。报告期内,国仪量子不存在向单个供应商采购比例超过采购总额50%的情形。


本次募集资金将用于高端科学仪器产业化项目、量子技术发展研究院建设项目 、应用中心网络建设项目等三大板块:
高端科学仪器产业化项目拟基于公司现有产品体系进行产能扩充和新产品开发,进一步提 高核心技术的产业化水平、量产产品的交付能力和整体盈利水平
量子技术发展研究院建设项目旨在提升公司产品和技术的自主研发创新能力,为公司产品更新 迭代和前瞻性技术储备提供支撑
应用中心网络建设项目系在境内外重点地区建 立应用中心,帮助公司实现规模化扩张,拓展优质目标客群

中科大神童创业,中国科学院院士团队科研实力支持!
招股书显示,国仪量子的实际控制人为贺羽、荣星,两人是一致行动人关系。
贺羽、荣星不直接持有公司股份,二人通过合肥司坤间接控制公司 27.20%表决权,同时贺羽通过合肥微扰间接控制公司 3.24% 表决权、通过合肥自旋间接控制公司3.24%表决权、通过合肥粒子间接控制公司 1.19%表决权,二人合计控制公司34.87%的表决权。
目前,贺羽担任公司董事长、总经理,荣星担任公司董事。贺羽、荣星均为中国科学技术大学博士研究生毕业。


国仪量子法人及创始人贺羽,是毕业于中科大少年班的“神童”。
2010年,17岁的贺羽,进入位于中科大的中国科学院微观磁共振重点实验室研究学习,该实验室前身是由我国量子领域的领军人物、中国科学院院士——杜江峰院士,于2000年建立的自旋磁共振实验室。
中国科学院微观磁共振重点实验室处于我国量子科技领域研究前沿,主要研究方向包括量子计算、量子模拟、量子精密测量、固体量子器件、量子物理基础、量子技术等,实验室在高端科学仪器、关键核心器件的研制领域深耕十余年,多项技术、研究成果突破国际封锁和禁运,并获得 ”中国科学十大进展“” 国家自然科学二等奖“”中国分析测试协会科学技术奖特等奖“等诸多奖项。

▲国仪量子贺羽,来源:网络
报道称,2010年,贺羽在聆听杜江峰院士的一次学术报告中,萌生投入中国仪器产业的想法:
当年,杜江峰院士靠东拼西凑,好不容易凑齐了200万美元的巨款,向国外仪器厂商购买了一台电子顺磁共振谱仪,但是,把款付了之后,却遇到了厂商的各种刁难,不仅对他临时涨价,而且还没有保障售后服务,一个故障维修都要等半年时间。
在学术报告的结尾,杜江峰院士沉重的说道:让国产高端仪器崛起已经刻不容缓。
在实验室中,基于杜江峰院士在量子科技领域的多年积累,贺羽及团队在量子传感器及仪器的进展迅速,不到4年,就发布国内首台商用脉冲式电子顺磁共振谱仪。
2016年,贺羽及团队响应国家向科研人员发起”把创新作为最大政策,奋起直追,迎头赶上“的号召,成立了国仪量子,将相关量子科技推向市场。
据天眼查显示,目前以贺羽等十几名中国科大学生合伙成立的合肥司坤股权投资合伙企业(有限合伙),占据控股地位,持股比例为 27.20%。

结语
量子计算、量子通信、量子精密测量(量子传感)是量子科技三大应用领域,以量子传感器为核心的量子精密测量,是最接近实用的量子技术,目前各国竞争先追逐量子传感器在市场中的应用,部分产品已经商业化,市场前景广阔。
本次国仪量子冲刺科创板IPO,其在量子传感等科技领域取得的多项国内唯一、国际第一的技术突破,是中国科技产业,在高科技领域迅猛发展,从追赶到引领的成长缩影。
期待,国产量子传感器第一股的诞生!
正规在线配资公司提示:文章来自网络,不代表本站观点。